ПОЧЕМУ ВАЖНО УДЕЛЯТЬ ВНИМАНИЕ ВОПРОСУ МОНТАЖА?
В современном новом строительстве 80% предустановленных окон заменяются в течение 2–3 лет. Когда клиент покупает для себя новое окно, он ожидает, что в его квартире станет сухо и тепло. Когда потом тепла не наблюдается, потребитель грешит на производителя окна. При этом в 9 случаях из 10 проблема не в оконном блоке, а в его установке. Грамотный монтаж окна — задача настолько нетривиальная, что на территории большинства европейских стран действуют специальные стандарты по монтажу оконных конструкций.
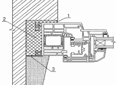
ОСНОВНЫЕ ТРЕБОВАНИЯ ПО МОНТАЖУ ОКНА
Монтажный шов — это элемент узла примыкания, представляющий из себя комбинацию из различных изоляционных материалов, используемых для заполнения монтажного зазора и обладающих заданными характеристиками. Монтажный шов должен обеспечить тепло-, шумо- и влагозащиту помещения в условиях деформационных подвижек оконного блока. Соответственно, грамотный монтаж окна заключается в грамотной установке монтажного шва.
ПРИЧИНЫ ТРЕХСЛОЙНОГО МОНТАЖА
Согласно стандартам, монтажный шов состоит из трех слоев. Наиболее важным является центральный слой. В большинстве своем он выполняется из монтажной пены, которая обеспечивает тепло- и шумозащиту помещения, но сама нуждается в защите от влаги и УФ-излучения солнца. Действительно, УФ-излучение разрушает пену. Вода же, во-первых, пропитывая пену, резко увеличивает ее теплопроводность (а значит, все теплозащитные свойства пены исчезают), а во-вторых, при охлаждении намокшей пены вблизи 0°С вода в ее порах будет увеличиваться в размерах и разрывать ее. Поэтому монтажную пену необходимо защищать, и именно для этого нужны наружный и внутренний слои.
ОСНОВНЫЕ ФУНКЦИИ ТРЕХ СЛОЕВ МОНТАЖНОГО ШВА
Наружный слой должен быть стоек к УФ-излучению и должен не
пропускать воду внутрь себя. Кроме того, если в пену все же попала вода (через
внутренний слой или путем инфильтрации через стену), она должна беспрепятственно
выйти из нее. Так как почти всегда давление паров воды на улице меньше, чем внутри,
то градиент абсолютной влажности направлен наружу, а значит, вода из пены будет
стремиться выйти через наружный слой. Поэтому его делают проницаемым для пара.
Соответственно, наружный слой должен быть стойким к ультрафиолету, водоизоляционным
и паропроницаемым.
Внутренний слой должен препятствовать попаданию влаги в пену
изнутри помещения. Так как вода может проникать в пену как в жидком, так и газообразном
состоянии, то внутренний слой должен быть водо- и пароизоляционным. Центральный
слой должен быть тепло- и шумоизоляционным.
ФУНКЦИИ СЛОЕВ МОНТАЖНОГО ШВА
|

Рис. 1. Адгезия в монтажном соединении. Полоса контакта герметика должна составлять 3–6 мм

ОСНОВНЫЕ ТРЕБОВАНИЯ ДСТУ НА НАРУЖНЫЙ И ВНУТРЕННИЙ СЛОИ МОНТАЖНОГО ШВА
Для выполнения указанных выше функций различные стандарты по
монтажу задают определенные требования, часть которых, отвечающих за защиту пены
от воды, рассмотрим подробнее. Итак, как же вода может попасть в пену?
Во-первых,
вода может попасть в стык между наружным (внутренним) слоем и стеновым/оконным проемом.
Поэтому ДСТУ задает минимальную прочность сцепления герметика с подложкой (ПВХ,
бетон, дерево и т.д.). Если сила сцепления будет меньше отрывающей силы, действующей
на наружный (внутренний) слой, то произойдет отрыв герметика и попадание влаги в пену.
При этом сила сцепления F (или, как ее еще называют, сила адгезии) прямо
пропорциональна как прочности сцепления ς, так и площади контакта герметика с
подложкой S:
F = ς × S.
Значит, площадь контакта герметика с подложкой необходимо
контролировать. Рекомендуемая полоса контакта (герметик наносится внахлест)
составляет 3…6 мм. И это первый их трех параметров шва, который возможно и необходимо
контролировать непосредственно на объекте (рис. 1).
Во-вторых, вода может попасть
в пену при воздухообмене: она конденсируется из влажного воздуха при понижении его
температуры. Чтобы обеспечить возможность его выхода, ГОСТ задает различные
значения сопротивления паропроницанию наружного и внутреннего слоев. Сопротивление
паропроницанию R — это параметр слоя герметика, который показывает, насколько
сильно этот слой препятствует проходу парообразной влаги сквозь него. Этот параметр
зависит от паропроницаемости герметика μ и толщины слоя b, которым он нанесен:
R = b/μ.
Из этой формулы следует, что, регулируя толщину слоя, можно добиться
любого желаемого значения сопротивления паропроницанию, а значит, требования по
сопротивлению паропроницанию вырождаются в требования по толщине. А какие требования
по сопротивлению паропроницанию задает ДСТУ? Для внутреннего слоя — не менее
2,0 Па м2 ч/мг. Для наружного слоя — не более 0,25 Па м2ч/мг.
Итак, требования по толщине можно рассчитать в соответствии с этой формулой, но
есть дополнительное условие, накладываемое на толщину слоя: толщина слоя герметика
не должна быть меньше 2 мм. Причина в том, что у любого полимерного материала, при
уменьшении его толщины, затухают свойства. В случае акриловых систем (на основе
которых и изготавливают герметики для монтажа окна) первой падает эластичность
герметика, а с ней и его долговечность: он начинает рваться задолго до истечения
рекомендуемого срока службы в 20 условных лет.
Таким образом, толщина нанесения
герметика для наружного слоя должна находиться в диапазоне минимально и максимально
допустимых значений. И это второй параметр шва, который необходимо контролировать
на объекте.
Третий параметр — это равномерность нанесения герметика. Слой
герметика не должен содержать разрывы или другие видимые нарушения в нанесении.
Остальные, по сути, не менее важные требования к слоям монтажного шва (водонепроницаемость,
долговечность и т.д.) на объекте проверить невозможно. Проверяются они с помощью
документации, прилагаемой к материалам, из которых выполнен монтажный шов.

ОСОБЕННОСТИ ПРИМЕНЕНИЯ ГЕРМЕТИКОВ
Основными преимуществами мастичных систем монтажа являются:
а) Цена. Качественные ленточные материалы, применяемые для монтажа окна,
из-за сложности их производства в 2-3 раза дороже, чем качественные герметики.
б) Геометрия проема. Для герметиков, в силу их консистенции, абсолютно не
важна геометрия проема. Там, где лента ПСУЛ не сможет закрыть трещины и выбоины в
стене, герметик легко проникает внутрь, надежно герметизируя эту область.
в) Кирпичная кладка. Вынесено в отдельный пункт, потому что на данный момент
при установке лент ПСУЛ эта проблема крайне часто игнорируется. Проблема в том,
что лента ПСУЛ не может перекрыть швы между отдельными кирпичами, и в эти швы
проникает вода и ветер.
г) Простота монтажа по сравнению с установкой пароизоляционных и диффузионных
лент, что требует зачастую усилий двух монтажников и часто выполняется с нарушениями.
К этому же пункту относится возможность использования герметиков в пыльных помещениях.
д) Скорость монтажа. Несмотря на действительно более быструю установку ленты
ПСУЛ, весь монтаж окна с использованием ленточных материалов более продолжителен,
чем монтаж герметиками. Это происходит из-за необходимости подготовки проемов при
монтаже ленты ПСУЛ и из-за длительной установки диффузионных и пароизоляционных
лент. Также следует отметить, что при широких монтажных зазорах (более 15 мм)
применение ленты ПСУЛ не обеспечивает качественной защиты монтажной пены. В подобных
случаях используют диффузионные ленты, что опять же сказывается на скорости монтажа.
е) Ремонтопригодность. В случае ошибки при монтаже герметики легко удаляются
механическим путем, после чего можно нанести новый слой более аккуратно. Если же
подобное произойдет с лентой ПСУЛ, то вставить новую ленту в монтажный зазор уже
не получится. Все ремонтные работы по монтажным швам без замены оконного блока
выполняются с использованием герметиков.
ж) Стойкость ветровой нагрузке. Качественные герметики не пропускают воду
при давлении в 1000…2000 Па, что в три раза больше 600 Па для ПСУЛов: где 2000 Па
соответствует скорости ветра в 40 м/с — верхняя граница для приморских регионов.
з) Реакция городской фауны. Птицы часто выклевывают ленту ПСУЛ. Герметики
они не жалуют.
и) Эстетичность. У герметиков белый цвет. Ленты ПСУЛ
преимущественно черные и серые, что, по мнению определенной доли потребителей, не
сочетается с цветом обычных стеновых проемов и профилей.
Основным недостатком мастичных систем монтажа является медленная скорость монтажа с ними. Действительно, при нанесении герметиков необходимо дожидаться возможности подреза пены, если герметик наносится на срезанную пену, или просто возможности нанесения герметика на пену. Для профессиональных монтажных пен время подреза пены в летнее время составляет порядка 30 минут. Зимой это значительно дольше.
Павел Гладков, инженер-технолог САЗИ, (АПРОК).
По материалам доклада на VIII конгрессе «Окна. Двери. Фасадные системы.
Архитектурное стекло»,
г. Киев, январь 2011 г.
